Tulostuskelpoiset levyt
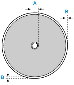
Tulostuskelpoisten levyjen tulostusalue on 17 mm (0,67 tuumaa) tulostuspinnan sisähalkaisijasta ja 1 mm (0,04 tuumaa) tulostuspinnan ulkohalkaisijasta.

Tulostusalue
- A: 17,0 mm (0,67 tuumaa)
- B: 1,0 mm (0,04 tuumaa)

S114
Tulostuskelpoisten levyjen tulostusalue on 17 mm (0,67 tuumaa) tulostuspinnan sisähalkaisijasta ja 1 mm (0,04 tuumaa) tulostuspinnan ulkohalkaisijasta.

Tulostusalue